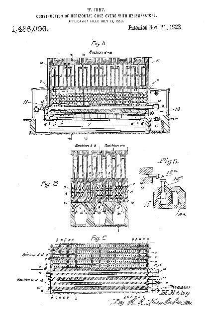
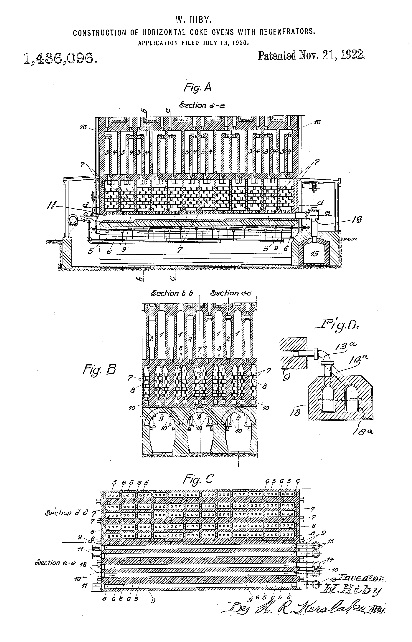
De Engelse Gladys Biram was in 1938 de weduwe van de Duitser Walther Hiby. Hilby was uitvinder van beroep en hij had nog steeds een patent op zijn naam staan voor de verwerking van gas uit steenkolen met een speciale cokes-oven. De aanvrage voor dat patent (patent application number 17.420)) deed hij in 1922 met de volgende aanhef in de stukken: Be it known that l, WALTHER HIBY, a subject of the German Republic, residing at Noordwijk aan Zee, the Netherlands, have invented certain new and useful Aimprovements in the Construction of Horizontal Coke Ovens with Regenerators (for which l filed an application in Germany Aug. 15, 1916), of which the following is a specification.
Dat was in 1922 en uit kleinere advertenties in de Leidse kranten weten we dat de heer en mevrouw Hiby-Biram woonden in de Villa Welkom aan de Pickéweg (nu Erasmusweg) in Noordwijk caan Zee. We hebben ook het gegeven dat in ieder geval Gladys vanaf 8 november 1920 onafgebroken in Nederland woonde, waarschijnlijk was ze hier naar toe gekomen samen met Walther. Maar waarom en hoe, weten we niet. Maar in 1938 was het dus allemaal anders: Walther was inmiddels overleden en Gladys, inmiddels 54 jaar oud) was verhuisd naar Den Haag.
Gladys deed in dat jaar een aanvrage tot naturalisatie en uit de behandeling van die aanvrage kunnen we concluderen dat zij een Joodse achtergrond had. Dat was blijkbaar na zoveel jaren ook de ‘drive’ om het Nederlanderschap aan te vragen met de opdoemende nazi-horden al aan de horizon. Dat Nederlanderschap werd haar ook daadwerkelijk verleend, ondanks een weerzinwekkende interventie in de Eerste Kamer van de NSB-er Van Vessem (je kunt je daar in retrospectief nog over opwinden, maar Van Vessem zei toen niet veel anders dan wat de PVV tegenwoordig allemaal te berde brengt over landgenoten van Marokkaanse afkomst).
We weten niet hoe het Gladys na 1938 verder gegaan is. Daarover zwijgen de annalen verder. De Villa Welkom had in ieder geval voor de Hiby’s haar naam eer aangedaan, ondanks het feit dat die vervelende Van Vessem poogde daarop later nog een smetje te werpen.




’t Is goed dat die komma er staat, na W.Hilby en voor het woordje ‘en’. 🙂
Scherp Kenneth en heel leuk!
Gladys Hiby-Biram is overleden in Den Haag op 6 augustus 1965. Walther Hiby was 30 jaar eerder overleden, in 1935, ook in Den Haag. Er waren vier kinderen Hiby: twee zoons en twee dochters. De zoons hebben in 1955 een andere patentaanvraag i.v.m. ‘coke ovens’ ingediend https://patents.google.com/patent/US2873231.